LUCKY YOU! Extra 10% Off Clearance | Use Code POTOGOLD10 Limited Time! Ends 3/21 Shop Now
CLOSE
Shipping to US Flag United States
Free shipping over $79
Moto Madness Sale | Get Up To 65% Off Parts & Gear Shop Now

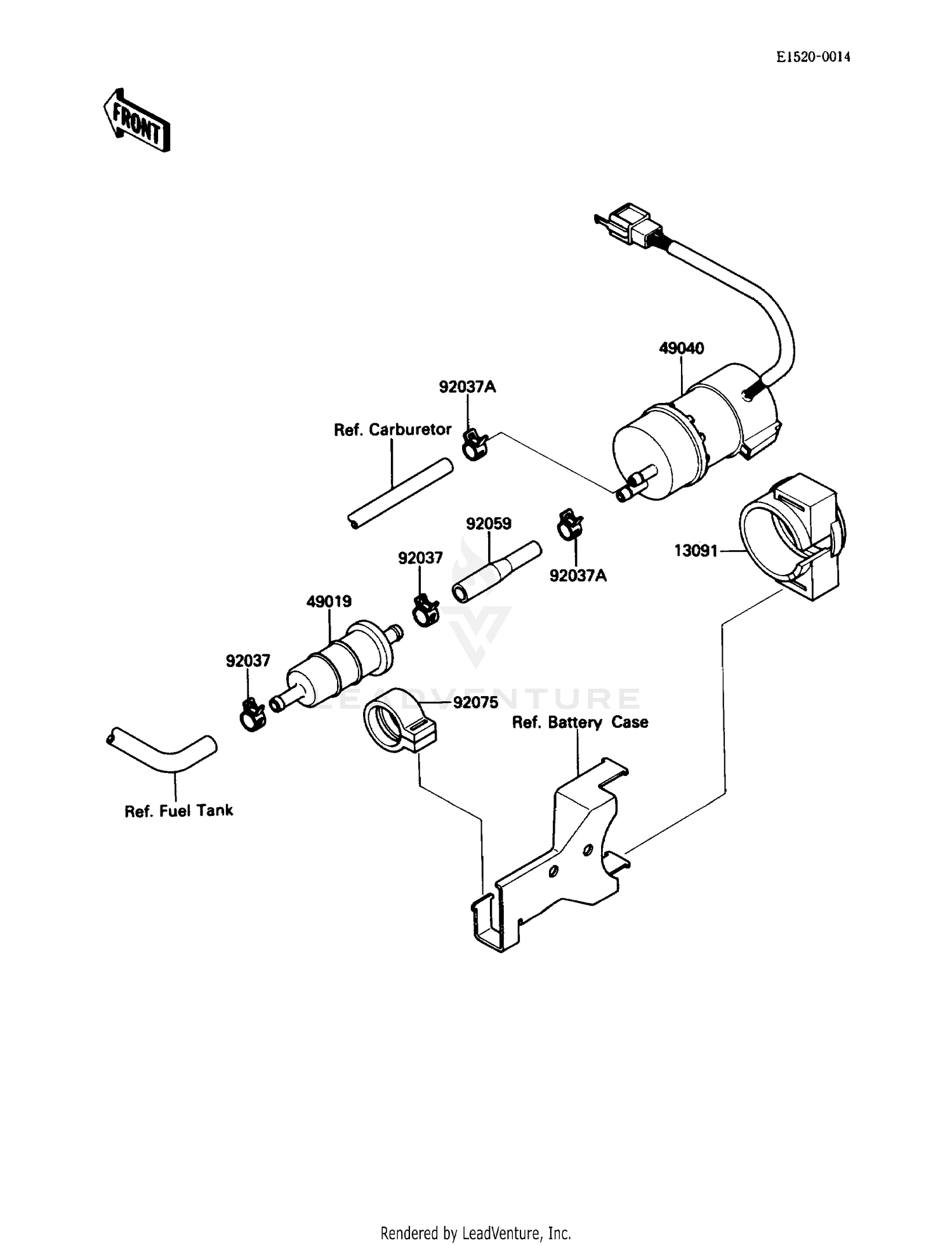
1989 Kawasaki ZX-10 FUEL PUMP

Set this as my ride
FUEL PUMP

WARNING Cancer and Reproductive Harm www.P65Warnings.ca.gov.

  • # Part Retail Our Price
    Stock Status Suggested Quantity
  • 13091
    13091-1512 holder Retail: $15.74 Price: $14.48
    Expected to Ship in 4-9 Days
  • 49019
    49019-0032 filter-fuel Supersedes: 49019-1055 (FILTER-FUEL) Retail: $22.97 Price: See price in cart
    Expected to Ship in 4-9 Days
  • 49040
    49040-1063 pump fuel Supersedes: 49040-1056 (PUMP-FUEL) Retail: $379.15 Price: See price in cart
    Expected to Ship in 4-9 Days
  • 92037
    In Stock
  • 92037A
    In Stock
  • 92059
    92059-1918 tube,fuel
    This part is currently unavailable.
  • 92075
    92075-1853 damper,fuel filter Retail: $12.35 Price: $11.36
    Expected to Ship in 4-9 Days
Added to your cart
CLOSE