Kickstart your Riding Season with Bike Prep and Riding Gear Shop Now
CLOSE
Shipping to US Flag United States
Free shipping over $79
Fast Cash Week | Earn $10 When you Spend $99 + $25 When You Spend $199 Shop Now

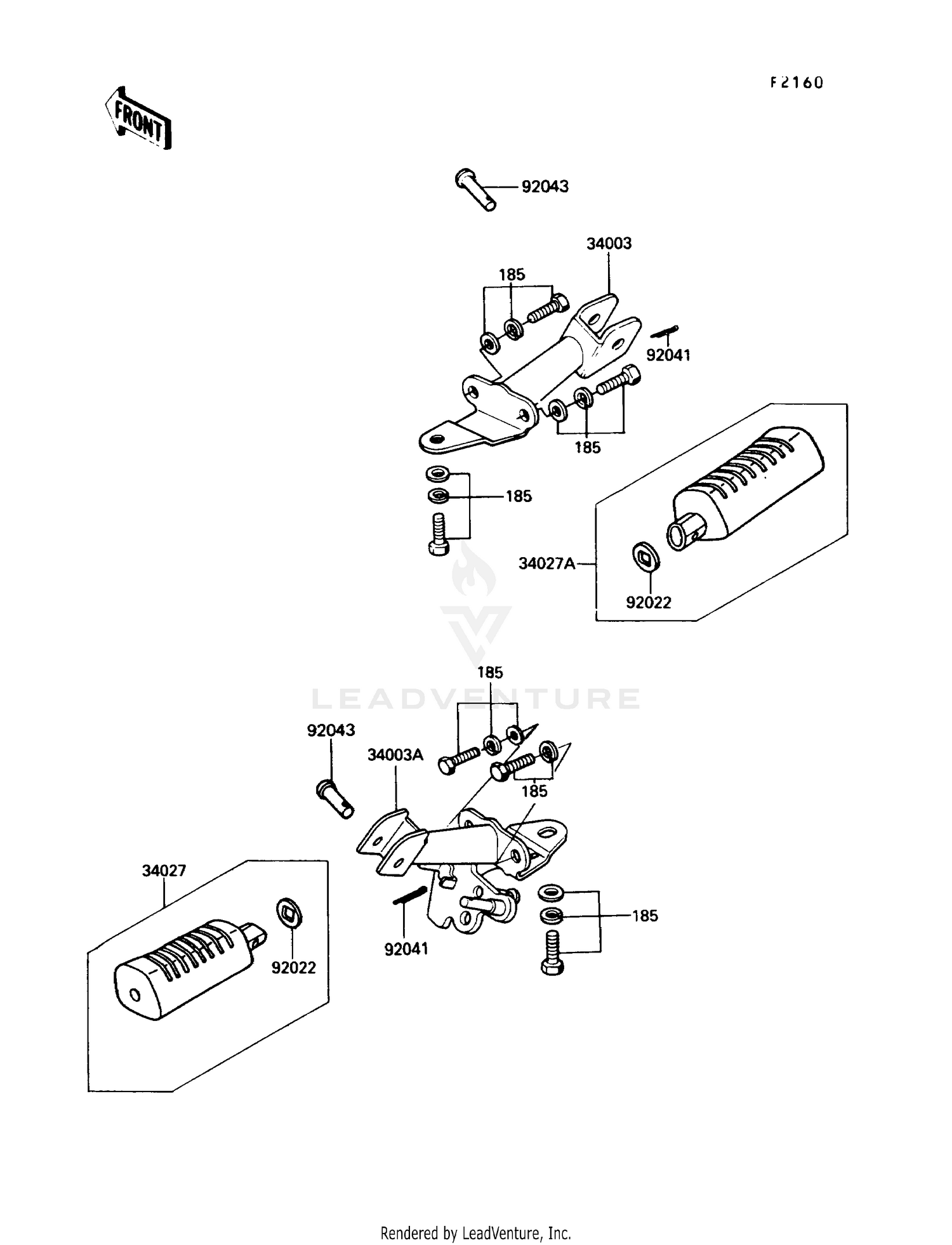
1989 Kawasaki KE100 STEP

Set this as my ride
STEP

WARNING Cancer and Reproductive Harm www.P65Warnings.ca.gov.

  • # Part Retail Our Price
    Stock Status Suggested Quantity
  • 34003
    34003-050 holder,fotrest bar,rh Retail: $76.09 Price: See price in cart
    Expected to Ship in 4-9 Days
  • 34003A
    34003-1073 holder-step
    This part is currently unavailable.
  • 34027
    34027-1114 step-assy,fr,lh Retail: $32.54 Price: See price in cart
    Expected to Ship in 4-9 Days
  • 34027A
    34027-1115 step-assy,fr,rh Retail: $39.04 Price: See price in cart
    Expected to Ship in 4-9 Days
  • 92022
    Expected to Ship in 4-9 Days
  • 92041
    Expected to Ship in 4-9 Days
  • 92043
    Expected to Ship in 4-9 Days
  • 185
    185BB0818 bolt-upset-wsp-small Supersedes: 185J0818 (BOLT-UPSET-WSP-SMALL)
    This part is currently unavailable.
Added to your cart
CLOSE