^ Emerald\Bundle\InternalBundle\Handler\DatabaseServiceHandler {#266
  #attributes: array:6 [
    "service_name" => "tax_api_v2"
    "enabled" => "0"
    "message" => "Toggle to use V2 tax API base URL"
    "service_id" => "120"
    "last_updated" => "2026-04-15 16:38:00"
    "last_updated_by" => "system"
  ]
}
One Day Only! FREE 2-Day Shipping on Orders Over $99 with code RIDEOFF Shop Now
CLOSE
Shipping to US Flag United States
Free shipping over $79
Fast Cash Week | Earn $25 Fast Cash When You Spend $199 Learn More
Toggle to use V2 tax API base URL

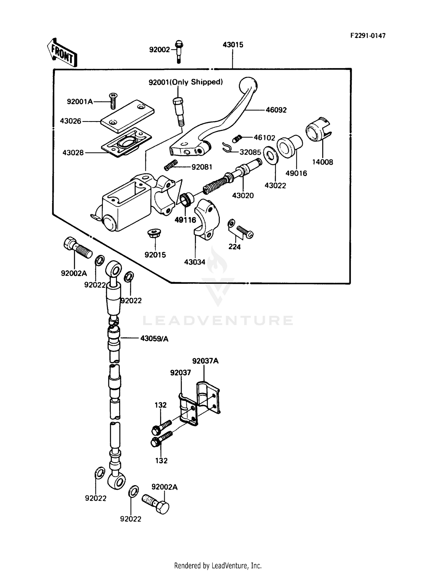
1988 Kawasaki KDX200 FRONT MASTER CYLINDER

Set this as my ride
FRONT MASTER CYLINDER

WARNING Cancer and Reproductive Harm www.P65Warnings.ca.gov.

  • # Part Retail Our Price
    Stock Status Suggested Quantity
  • 14008
    14008-1030 liner
    This part is currently unavailable.
  • 32085
    32085-1087 stopper,brake lever r
    This part is currently unavailable.
  • 43015
    43015-1281 cylinder-assy-master
    This part is currently unavailable.
  • 43020
    43020-1021 piston-comp-brake Retail: $66.01 Price: See price in cart
    Expected to Ship in 4-9 Days
  • 43022
    43022-1008 stopper-brake
    This part is currently unavailable.
  • 43026
    43026-1019 cap-brake
    This part is currently unavailable.
  • 43028
    43028-1030 diaphragm
    This part is currently unavailable.
  • 43034
    43034-1012 holder-brake
    This part is currently unavailable.
  • 43059A
    43059-1360 hose-brake,fr Retail: $236.33 Price: See price in cart
    Expected to Ship in 4-9 Days
  • 46092
    46092-1108 lever-grip,brake
    This part is currently unavailable.
  • 46102
    46102-1120 rod,brake lever adjus
    This part is currently unavailable.
  • 49016
    49016-1035 cover-seal
    This part is currently unavailable.
  • 49116
    49116-1057 valve-assy,master cyl
    This part is currently unavailable.
  • 92001
    92001-1512 bolt,6x37.3,black
    This part is currently unavailable.
  • 92001A
    92001-1532 screw-countersunk
    This part is currently unavailable.
  • 92002
    92002-1648 bolt
    This part is currently unavailable.
  • 92002A
    92153-0627 bolt,oil,l=23 Supersedes: 92002-1888 (BOLT,OIL,L=23) Price: $6.30
    In Stock
  • 92015
    92210-0006 nut,lock,6mm Supersedes: 92015-1191 (NUT,LOCK,6MM) Price: $2.83
    In Stock
  • 92022
    49091-0001 washer-seal,10.1x14.5x1.5 Supersedes: 43067-001 (WASHER-SEAL,10.1X14.5X1.5) Price: $2.47
    In Stock
  • 92037
    In Stock
  • 92037A
    In Stock
  • 92081
    92081-1428 spring,brake lever
    This part is currently unavailable.
  • 132
    132BA0616 bolt-flanged-small,6x16 Supersedes: 132G0616 (BOLT-FLANGED-SMALL,6X16) Price: $1.74
    In Stock
  • 224
    224AA0625 screw-pan-wp-cros Supersedes: 224B0625 (SCREW-PAN-WP-CROS) Price: $0.61
    Expected to Ship in 4-9 Days
Added to your cart
CLOSE