Kickstart your Riding Season with Bike Prep and Riding Gear Shop Now
CLOSE
Shipping to US Flag United States
Free shipping over $79
My Ride: 2004 Kawasaki MOJAVE 250
Moto Madness Sale | Get Up To 65% Off Parts & Gear Shop Now

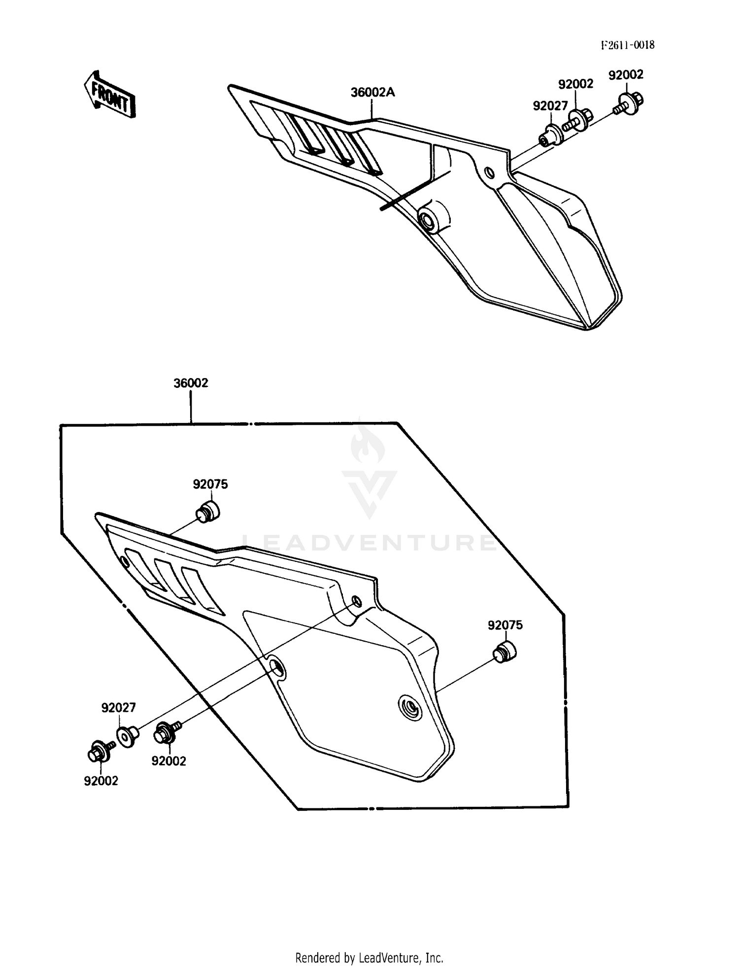
1988 Kawasaki BIG WHEEL KX80 SIDE COVERS

Set this as my ride
SIDE COVERS

WARNING Cancer and Reproductive Harm www.P65Warnings.ca.gov.

  • # Part Retail Our Price
    Stock Status Suggested Quantity
  • 36002
    36010-5068-BG cover-side,lh,blue Supersedes: 36002-5427-BG (COVER-SIDE-SUB,LH,BLU)
    This part is currently unavailable.
  • 36002A
    36010-5069-BG cover-side,rh,blue Supersedes: 36002-5428-BG (COVER-SIDE-SUB,RH,BLU)
    This part is currently unavailable.
  • 92002
    92150-1506 bolt,flanged,6x16 Supersedes: 92002-1952 (BOLT) Price: $5.75
    In Stock
  • 92027
    Expected to Ship in 4-9 Days
  • 92075
    92075-1598 damper Price: $9.87
    In Stock
Added to your cart
CLOSE