Kickstart your Riding Season with Bike Prep and Riding Gear Shop Now
CLOSE
Shipping to US Flag United States
Free shipping over $79
My Ride: 2021 Cfmoto CFORCE 400
Moto Madness Sale | Get Up To 65% Off Parts & Gear Shop Now

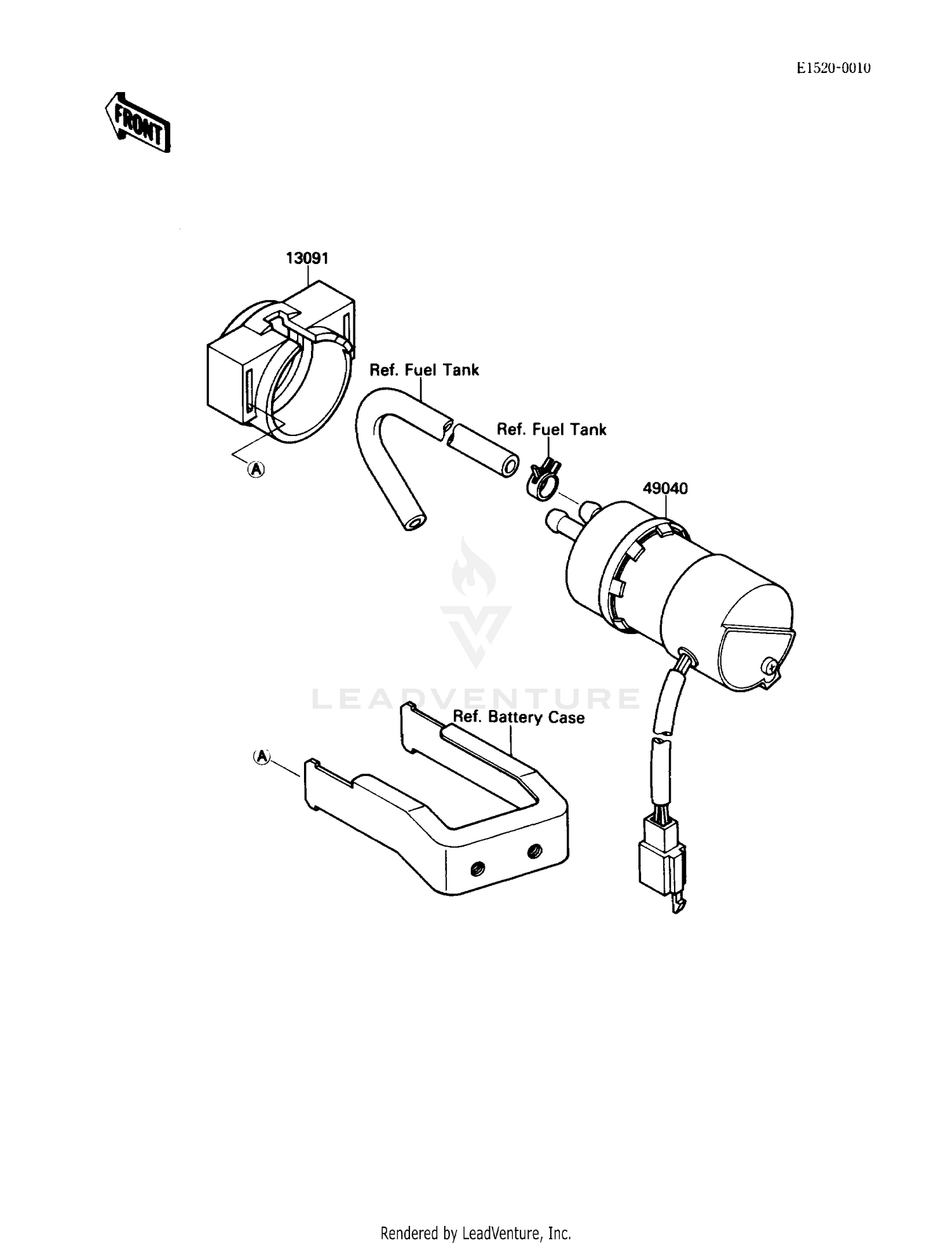
1987 Kawasaki VULCAN 88 VN1500-A1 FUEL PUMP

Set this as my ride
FUEL PUMP

WARNING Cancer and Reproductive Harm www.P65Warnings.ca.gov.

  • # Part Retail Our Price
    Stock Status Suggested Quantity
  • 13091
    13091-1512 holder Retail: $15.74 Price: $14.48
    Expected to Ship in 4-9 Days
  • 49040
    49040-1063 pump fuel Supersedes: 49040-1054 (PUMP-FUEL) Retail: $379.15 Price: See price in cart
    Expected to Ship in 4-9 Days
Added to your cart
CLOSE