Kickstart your Riding Season with Bike Prep and Riding Gear Shop Now
CLOSE
Shipping to US Flag United States
Free shipping over $79
Moto Madness Sale | Get Up To 65% Off Parts & Gear Shop Now

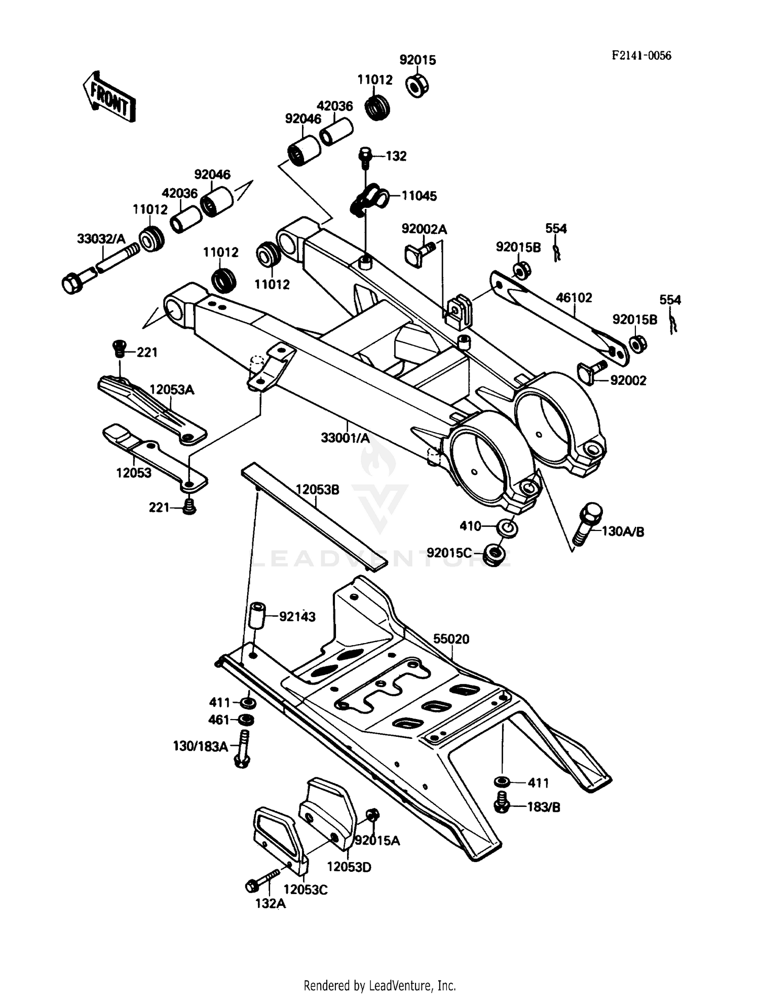
1987 Kawasaki TECATE-4 KXF250 SWINGARM

Set this as my ride
SWINGARM

WARNING Cancer and Reproductive Harm www.P65Warnings.ca.gov.

  • # Part Retail Our Price
    Stock Status Suggested Quantity
  • 11012
    11012-1259 cap,swing arm Retail: $21.80 Price: See price in cart
    In Stock
  • 11045
    11045-1447 bracket
    This part is currently unavailable.
  • 12053
    12053-1208 guide-chain,fr,lwr
    This part is currently unavailable.
  • 12053A
    12053-1213 guide-chain,fr,upp
    This part is currently unavailable.
  • 12053B
    12053-1218 guide-chain
    This part is currently unavailable.
  • 12053C
    12053-1230 guide-chain
    This part is currently unavailable.
  • 12053D
    12053-1231 guide-chain
    This part is currently unavailable.
  • 33001
    33001-1286 arm-comp-swing
    This part is currently unavailable.
  • 33032
    33032-1130 shaft-swing arm
    This part is currently unavailable.
  • 42036
    42036-1064 sleeve,swing arm Retail: $21.29 Price: See price in cart
    Expected to Ship in 4-9 Days
  • 46102
    46102-1179 rod,torque
    This part is currently unavailable.
  • 55020
    55020-1294 guard
    This part is currently unavailable.
  • 92002
    92002-1733 bolt,10x28 Retail: $10.04 Price: $9.24
    Expected to Ship in 4-9 Days
  • 92002A
    92002-1915 bolt,brake rod,10x30
    This part is currently unavailable.
  • 92015
    92015-1407 nut,14mm Supersedes: 92015-1032 (NUT,14M/M) Price: $11.40
    In Stock
  • 92015A
    92015-1367 nut,flanged,6mm Supersedes: 92015-1193 (NUT,FLANGED,6MM) Price: $4.24
    In Stock
  • 92015B
    Expected to Ship in 4-9 Days
  • 92015C
    Expected to Ship in 4-9 Days
  • 92046
    92046-1128 bearing-needle,ta2030 Retail: $26.03 Price: See price in cart
    In Stock
  • 92143
    92143-1155 collar Retail: $22.79 Price: See price in cart
    Expected to Ship in 4-9 Days
  • 130A
    92002-1130 bolt,12x55 Supersedes: 130P1255 (BOLT-FLANGED,12X55) Retail: $10.65 Price: $9.80
    Expected to Ship in 4-9 Days
  • 132
    132BA0612 bolt-flanged-small,6x12 Supersedes: 92150-1599 (BOLT-FLANGED-SMALL,6X12) Price: $1.38
    Expected to Ship in 4-9 Days
  • 132A
    132BA0645 bolt-flanged-small,6x45 Supersedes: 132G0645 (BOLT-FLANGED-SMALL,6X45) Price: $5.12
    In Stock
  • 183
    183AA0818 bolt-upset-ws-small Supersedes: 183B0818 (BOLT-UPSET-WS-SMALL)
    This part is currently unavailable.
  • 183A
    183B0845 bolt-upset-ws-small
    This part is currently unavailable.
  • 221
    221AA0610 screw-csk-cros,6x10 Supersedes: 221B0610 (SCREW-CSK-CROS,6X10) Price: $4.22
    Expected to Ship in 4-9 Days
  • 411
    411AA0800 washer-plain,8mm Supersedes: 411B0800 (WASHER-PLAIN) Price: $1.68
    Expected to Ship in 4-9 Days
  • 554
    554DA1000 pin-snap,10mm Supersedes: 554A1000 (PIN-SNAP,10MM) Retail: $1.56 Price: $0.77
    In Stock
Added to your cart
CLOSE