LUCKY YOU! Extra 10% Off Clearance | Use Code POTOGOLD10 Limited Time! Ends 3/21 Shop Now
CLOSE
Shipping to US Flag United States
Free shipping over $79
My Ride: 1987 Suzuki JR50
Moto Madness Sale | Get Up To 65% Off Parts & Gear Shop Now

1987 Kawasaki POLICE 1000 - KZ1000P GUARD/SADDLEBAG

Set this as my ride
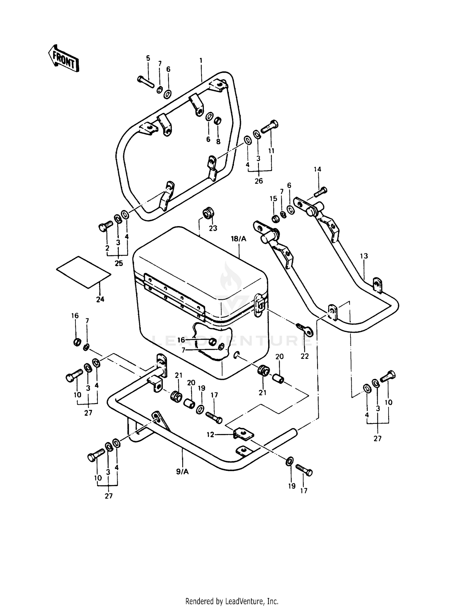
GUARD/SADDLEBAG

WARNING Cancer and Reproductive Harm www.P65Warnings.ca.gov.

  • # Part Retail Our Price
    Stock Status Suggested Quantity
  • 10
    112G1030 bolt-upset,10x30 Supersedes: 113B1030 (BOLT HEX HEAD 10X30)
    This part is currently unavailable.
  • 11
    92001-1253 bolt,hex head 10x40 Supersedes: 113B1040 (BOLT HEX HEAD 10X40)
    This part is currently unavailable.
  • 12
    11034-4137 bracket,carrier dampe Retail: $13.71 Price: $12.61
    Expected to Ship in 4-9 Days
  • 13
    55020-1073 guard,rr Retail: $501.18 Price: See price in cart
    Expected to Ship in 4-9 Days
  • 14
    115BA0825 bolt-small-upset,8x25 Supersedes: 115G0825 (BOLT-SMALL-UPSET,8X25) Price: $6.23
    Expected to Ship in 4-9 Days
  • 15
    317AA0800 nut-hex-small,8mm Supersedes: 311B0800 (NUT,8MM) Price: $1.19
    Expected to Ship in 4-9 Days
  • 16
    Expected to Ship in 4-9 Days
  • 17
    115BA0825 bolt-small-upset,8x25 Supersedes: 115G0825 (BOLT-SMALL-UPSET,8X25) Price: $6.23
    Expected to Ship in 4-9 Days
  • 18A
    56008-4007 saddlebag,rh Retail: $506.78 Price: See price in cart
    Expected to Ship in 4-9 Days
  • 18
    56008-4006 saddlebag,lh Retail: $446.73 Price: See price in cart
    Expected to Ship in 4-9 Days
  • 19
    92022-1561 washer,8.5x20x1.6 Supersedes: 92022-195 (WASHER PL 8.5X20X1.6) Price: $4.96
    Expected to Ship in 4-9 Days
  • 20
    92027-280 collar
    This part is currently unavailable.
  • 21
    92075-303 damper,saddlebag
    This part is currently unavailable.
  • 22
    27008-5501 key set,police saddle Supersedes: 27008-4001 (KEY SET-POLICE SDDLBG)
    This part is currently unavailable.
  • 23
    92160-1667 damper,amplifier harn Supersedes: 92075-4012 (DAMPER-AMP HARNESS)
    This part is currently unavailable.
  • 24
    56037-4012 label,tire&load data
    This part is currently unavailable.
  • 25
    192B1020 bolt-upset-wsp-small Supersedes: 162B1020 (BOLT-FINE-WSP)
    This part is currently unavailable.
  • 26
    192B1040 bolt-upset-wsp-small Supersedes: 162B1040 (BOLT-FINE-WSP)
    This part is currently unavailable.
  • 27
    192B1030 bolt-upset-wsp-small Supersedes: 162B1030 (BOLT-FINE-WSP)
    This part is currently unavailable.
  • 1
    55020-1070 guard,fr
    This part is currently unavailable.
  • 2
    112B1020 bolt-upset,10x20 Supersedes: 113B1020 (BOLT HEX HEAD 10X20)
    This part is currently unavailable.
  • 3
    461DA1000 washer-spring,10mm Supersedes: 461F1000 (WASHER-SPRING,10MM) Price: $1.19
    Expected to Ship in 4-9 Days
  • 4
    411AA1000 washer-plain,10mm Supersedes: 411B1000 (WASHER-PLAIN,10MM) Price: $1.68
    Expected to Ship in 4-9 Days
  • 5
    115BA0845 bolt-small-upset,8x45 Supersedes: 114B0845 (BOLT HEX HEAD 8X45) Price: $6.65
    Expected to Ship in 4-9 Days
  • 6
    410AA0800 washer-plain-small,8mm Supersedes: 410B0800 (WASHER-PLAIN-SMALL,8MM) Price: $1.68
    In Stock
  • 7
    461DA0800 washer-spring,8mm Supersedes: 461F0800 (WASHER-SPRING,8MM) Price: $0.70
    In Stock
  • 8
    317AA0800 nut-hex-small,8mm Supersedes: 317B0800 (NUT,8M/M) Price: $1.19
    Expected to Ship in 4-9 Days
  • 9A
    55020-1072 guard,saddle bag,rh
    This part is currently unavailable.
  • 9
    55020-1071 guard,saddle bag,lh Retail: $434.97 Price: See price in cart
    Expected to Ship in 4-9 Days
Added to your cart
CLOSE