Kickstart your Riding Season with Bike Prep and Riding Gear Shop Now
CLOSE
Shipping to US Flag United States
Free shipping over $79
Moto Madness Sale | Get Up To 65% Off Parts & Gear Shop Now

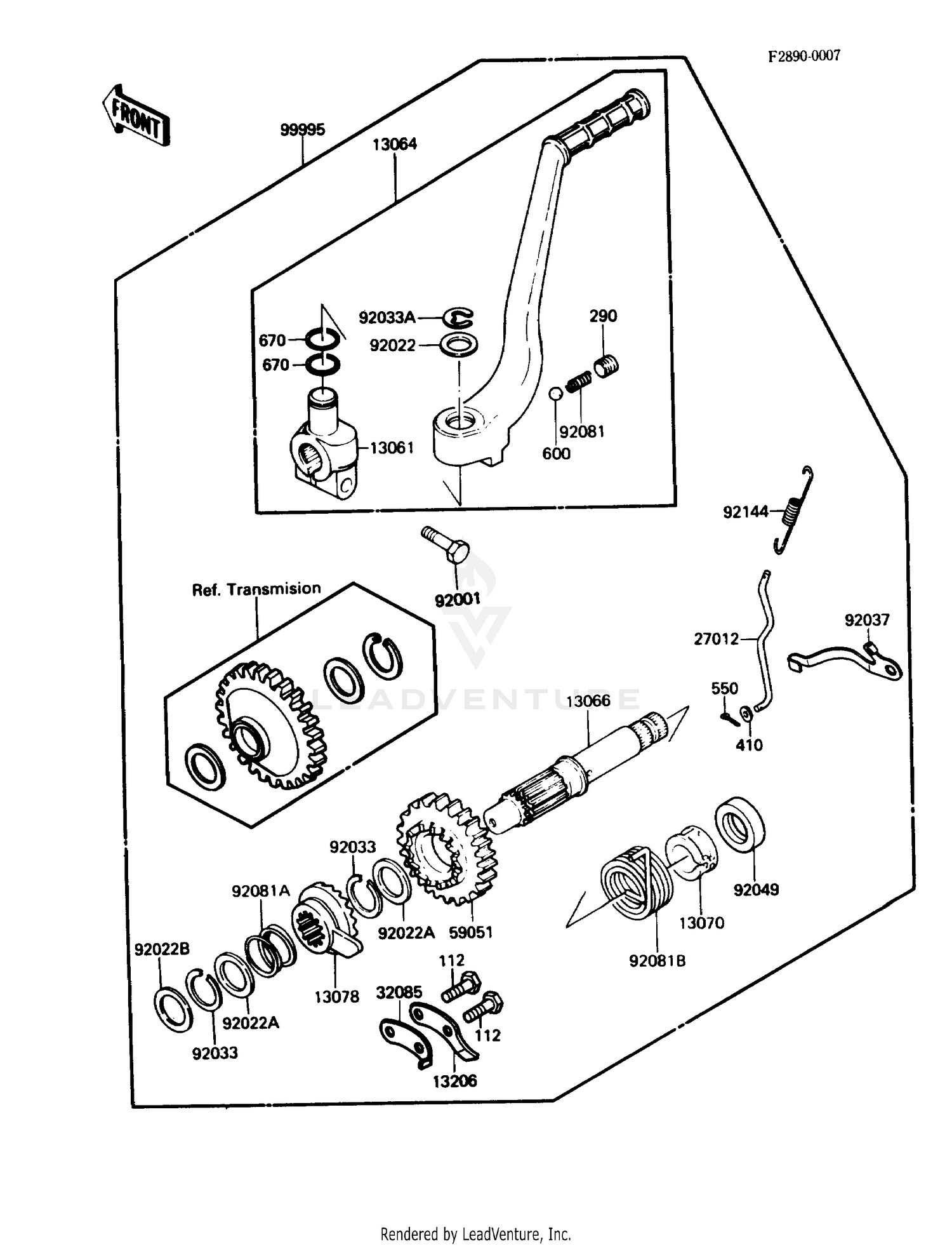
1987 Kawasaki KLR650 OPTIONAL PARTS (KICKSTARTER)

Set this as my ride
OPTIONAL PARTS (KICKSTARTER)

WARNING Cancer and Reproductive Harm www.P65Warnings.ca.gov.

  • # Part Retail Our Price
    Stock Status Suggested Quantity
  • 13061
    13061-1106 boss,kick pedal [CN]
    This part is currently unavailable.
  • 13064
    13064-1133 lever-assy-kick,pedal [CN]
    This part is currently unavailable.
  • 13066
    13066-1058 shaft-kick [CN]
    This part is currently unavailable.
  • 13070
    13070-1106 guide,kick spring [CN]
    This part is currently unavailable.
  • 13078
    13078-1051 ratchet [CN]
    This part is currently unavailable.
  • 13206
    13206-1051 guide-kick [CN]
    This part is currently unavailable.
  • 27012
    27012-1383 hook [CN]
    This part is currently unavailable.
  • 32085
    13072-014 stopper,kickstarter [CN]
    This part is currently unavailable.
  • 59051
    59051-1142 gear-spur,kick [CN]
    This part is currently unavailable.
  • 92001
    92001-1042 bolt,hex head,8x28 [CN]
    This part is currently unavailable.
  • 92022
    92022-1019 washer,plain [CN] Price: $6.01
    Expected to Ship in 4-9 Days
  • 92022A
    In Stock
  • 92022B
    Expected to Ship in 4-9 Days
  • 92033
    92033-026 ring-snap,24mm [CN] Price: $10.11
    In Stock
  • 92033A
    92033-1166 ring-snap,10mm [CN] Price: $4.47
    In Stock
  • 92037
    92037-1938 clamp [CN]
    This part is currently unavailable.
  • 92049
    In Stock
  • 92081
    In Stock
  • 92081A
    92081-097 spring [CN] Retail: $11.80 Price: $10.86
    Expected to Ship in 4-9 Days
  • 92081B
    92082-003 spring-kickstarter [CN] Retail: $28.46 Price: See price in cart
    Expected to Ship in 4-9 Days
  • 92144
    92144-1143 spring,rear brake swi [CN]
    This part is currently unavailable.
  • 99995
    99995-1007 kit.,kickstarter [CN]
    This part is currently unavailable.
  • 112
    112BA0618 bolt-upset [CN] Supersedes: 112G0618 (BOLT-UPSET) Price: $1.18
    Expected to Ship in 4-9 Days
  • 290
    290Q0808 screw,8x8 [CN] Price: $5.50
    Expected to Ship in 4-9 Days
  • 410
    410AA0400 washer-plain-small,4mm [CN] Supersedes: 410B0400 (W-PLAIN-S) Price: $0.86
    Expected to Ship in 4-9 Days
  • 550
    550AA2015 pin-cotter,2.0x15 [CN] Supersedes: 550D2015 (PIN-COTTER,2.0X15) Price: $1.29
    In Stock
  • 600
    600A0800 ball-steel,1/4 [CN] Supersedes: 92140-0008 (BALL-STEEL,1/4") Price: $1.09
    In Stock
  • 670
    670B2015 o ring,15mm [CN] Price: $1.63
    Expected to Ship in 4-9 Days
Added to your cart
CLOSE