Kickstart your Riding Season with Bike Prep and Riding Gear Shop Now
CLOSE
Shipping to US Flag United States
Free shipping over $79
Moto Madness Sale | Get Up To 65% Off Parts & Gear Shop Now

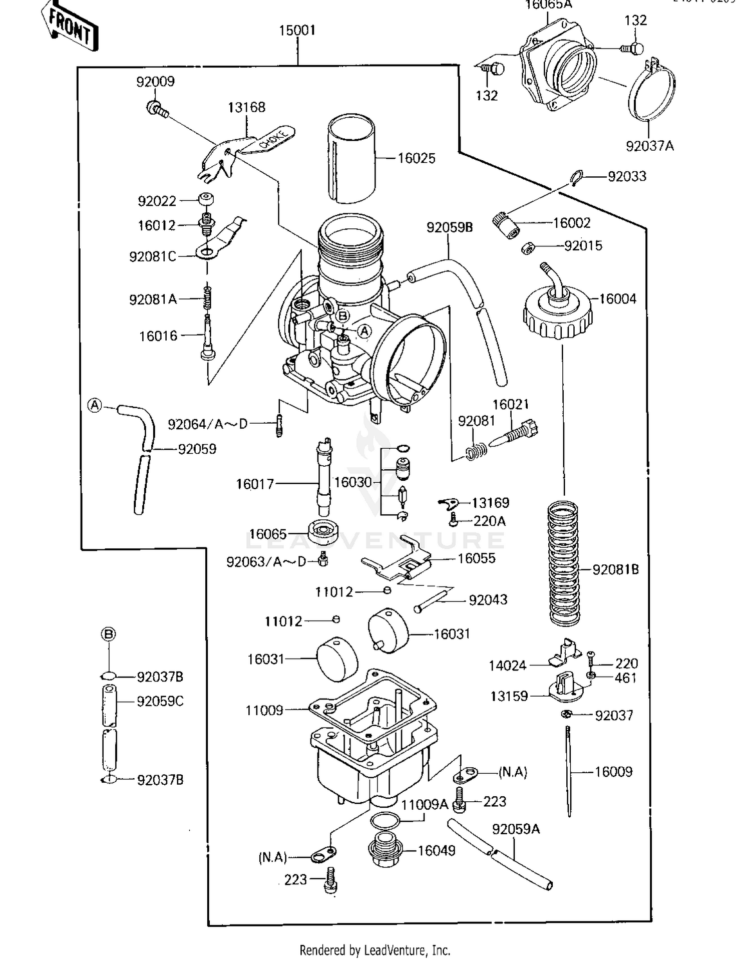
1986 Kawasaki TECATE-3 KXT250 CARBURETOR

Set this as my ride
CARBURETOR

WARNING Cancer and Reproductive Harm www.P65Warnings.ca.gov.

  • # Part Retail Our Price
    Stock Status Suggested Quantity
  • 11009
    11009-1275 gasket,float chamber
    This part is currently unavailable.
  • 11009A
    16038-009 gasket-cover
    This part is currently unavailable.
  • 11012
    11012-1047 cap,float
    This part is currently unavailable.
  • 13159
    13159-1010 connector,throttle
    This part is currently unavailable.
  • 13168
    13168-1233 lever,starter
    This part is currently unavailable.
  • 13169
    13169-1190 plate, lock
    This part is currently unavailable.
  • 14024
    14025-1113 cover,throttle,valve
    This part is currently unavailable.
  • 15001
    15001-1207 carburetor-assy
    This part is currently unavailable.
  • 16002
    16002-1006 adjuster,cable
    This part is currently unavailable.
  • 16004
    16004-1013 cap-chamber,mixing
    This part is currently unavailable.
  • 16009
    16009-1297 needle-jet,6fl56 Retail: $37.40 Price: See price in cart
    Expected to Ship in 4-9 Days
  • 16012
    16012-019 cap,starter plunger Retail: $21.09 Price: See price in cart
    Expected to Ship in 4-9 Days
  • 16016
    16016-011 plunger
    This part is currently unavailable.
  • 16017
    16017-1250 jet-needle,r-2
    This part is currently unavailable.
  • 16021
    16021-1030 screw,throt vlv adjst
    This part is currently unavailable.
  • 16025
    16025-1114 valve-throttle,ca.3.0
    This part is currently unavailable.
  • 16030
    16030-1020 valve-float,3.3
    This part is currently unavailable.
  • 16031
    16031-029 float
    This part is currently unavailable.
  • 16049
    16049-006 cover,main jet
    This part is currently unavailable.
  • 16055
    16055-009 arm,float
    This part is currently unavailable.
  • 16065
    16065-1045 holder,needle jet
    This part is currently unavailable.
  • 16065A
    16065-1124 holder-carburetor
    This part is currently unavailable.
  • 92009
    92009-1412 screw
    This part is currently unavailable.
  • 92015
    Expected to Ship in 4-9 Days
  • 92022
    Expected to Ship in 4-9 Days
  • 92033
    In Stock
  • 92037
    16008-010 circlip Price: $10.59
    Expected to Ship in 4-9 Days
  • 92037A
    92037-1313 clamp,carburetor hold
    This part is currently unavailable.
  • 92037B
    In Stock
  • 92043
    16032-008 pin,float Supersedes: 16032-003 (PIN,FLOAT) Price: $7.56
    Expected to Ship in 4-9 Days
  • 92059
    92059-147 hose,fuel overflow Supersedes: 92059-1142 (TUBE,3.5X6.5X410)
    This part is currently unavailable.
  • 92059A
    92059-1211 tube,3.5x6.5x350
    This part is currently unavailable.
  • 92059B
    92059-1292 tube,4x7x400,overflow
    This part is currently unavailable.
  • 92059C
    92059-3731 tube,2.5x5.8x270 Supersedes: 92059-1888 (TUBE, 2.5X5.8X270) Price: $10.48
    In Stock
  • 92063
    92063-028 jet-main no 260a (OPTION)
    This part is currently unavailable.
  • 92063A
    92063-029 jet-main no 270a
    This part is currently unavailable.
  • 92063B
    92063-030 jet-main no 280a (OPTION)
    This part is currently unavailable.
  • 92063C
    92063-031 jet-main no 290a (OPTION)
    This part is currently unavailable.
  • 92063D
    92063-045 jet-main no 300a (OPTION)
    This part is currently unavailable.
  • 92064
    92064-022 jet-pilot,#30 (OPTION) Retail: $17.03 Price: $15.67
    In Stock
  • 92064A
    92064-023 jet-pilot no 35
    This part is currently unavailable.
  • 92064B
    92064-024 jet-pilot no 40 (OPTION)
    This part is currently unavailable.
  • 92064C
    92064-1020 pilot jet,#a25 (OPTION) Supersedes: 92064-032 (JET-PILOT,#A25) Retail: $19.34 Price: $17.79
    Expected to Ship in 4-9 Days
  • 92064D
    92064-044 jet-pilot no 45 (OPTION)
    This part is currently unavailable.
  • 92081
    16022-005 spring thr stop screw
    This part is currently unavailable.
  • 92081A
    92081-1181 spring,strtr plunger
    This part is currently unavailable.
  • 92081B
    92081-1432 spring,throttle valve
    This part is currently unavailable.
  • 92081C
    92081-1625 spring,plate
    This part is currently unavailable.
  • 132
    132BA0620 bolt-flanged-small,6x20 Supersedes: 132G0620 (BOLT-FLANGED-SMALL,6X20) Price: $2.86
    In Stock
  • 220
    220AA0308 screw-pan-cros,3x8 Supersedes: 220D0308 (SCREW-PAN-CROS,3X8) Price: $1.03
    In Stock
  • 220A
    220AA0406 screw-pan cros,4x6 Supersedes: 220B0406 (SCREW-PAN-CROS,4X6) Price: $1.92
    Expected to Ship in 4-9 Days
  • 223
    223AA0518 screw-pan-ws-cros Supersedes: 223B0518 (SCREW-PAN-WS-CROS)
    This part is currently unavailable.
  • 461
    461DA0300 washer-spring Supersedes: 461F0300 (WASHER SPRING 3MM) Price: $0.82
    Expected to Ship in 4-9 Days
Added to your cart
CLOSE