Kickstart your Riding Season with Bike Prep and Riding Gear Shop Now
CLOSE
Shipping to US Flag United States
Free shipping over $79
Moto Madness Sale | Get Up To 65% Off Parts & Gear Shop Now

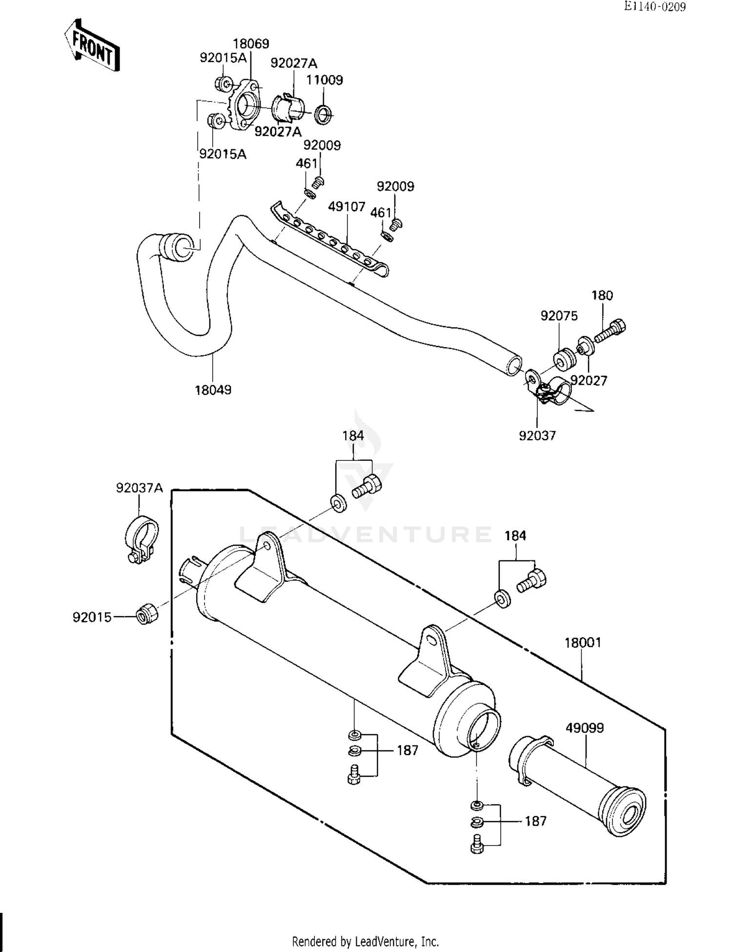
1985 Kawasaki KLT160 MUFFLER

Set this as my ride
MUFFLER

WARNING Cancer and Reproductive Harm www.P65Warnings.ca.gov.

  • # Part Retail Our Price
    Stock Status Suggested Quantity
  • 11009
    In Stock
  • 18001
    18001-1555 muffler,f.black
    This part is currently unavailable.
  • 18049
    18049-1281 pipe-exhaust,f.black
    This part is currently unavailable.
  • 18049
    18069-1006 holder,exhaust pipe Supersedes: 18069-1078 (HOLDER,EXHAUST PIPE) Retail: $27.28 Price: See price in cart
    Expected to Ship in 4-9 Days
  • 49099
    49099-1223 baffle-pipe muffler
    This part is currently unavailable.
  • 49107
    49107-1055 cover-exhaust pipe Retail: $18.49 Price: $17.01
    Expected to Ship in 4-9 Days
  • 92009
    92172-0104 screw,6x6.7 Supersedes: 92009-1054 (SCREW,6X6.7) Price: $3.63
    Expected to Ship in 4-9 Days
  • 92015
    92015-1205 nut,u,8mm,black
    This part is currently unavailable.
  • 92015A
    Expected to Ship in 4-9 Days
  • 92027
    92027-1045 collar,l=9.6 Supersedes: 92027-1188 (COLLAR,L=9.6) Price: $6.35
    Expected to Ship in 4-9 Days
  • 92027A
    In Stock
  • 92037
    92037-1583 clamp,exhaust pipe
    This part is currently unavailable.
  • 92037A
    92037-1650 clamp
    This part is currently unavailable.
  • 92075
    92075-277 damper Price: $3.27
    Expected to Ship in 4-9 Days
  • 180
    180C0622 bolt-upset-ws
    This part is currently unavailable.
  • 184
    184J0820 bolt-upset-wp-small
    This part is currently unavailable.
  • 187
    187AB0612 bolt-upset-wsp Supersedes: 187C0612 (BOLT-UPSET-WSP) Price: $5.31
    Expected to Ship in 4-9 Days
  • 461
    461DB0600 washer-spring,6mm Supersedes: 461K0600 (WASHER-SPRING,6MM,BLACK) Retail: $1.14 Price: $0.77
    In Stock
Added to your cart
CLOSE