Kickstart your Riding Season with Bike Prep and Riding Gear Shop Now
CLOSE
Shipping to US Flag United States
Free shipping over $79
Moto Madness Sale | Get Up To 65% Off Parts & Gear Shop Now

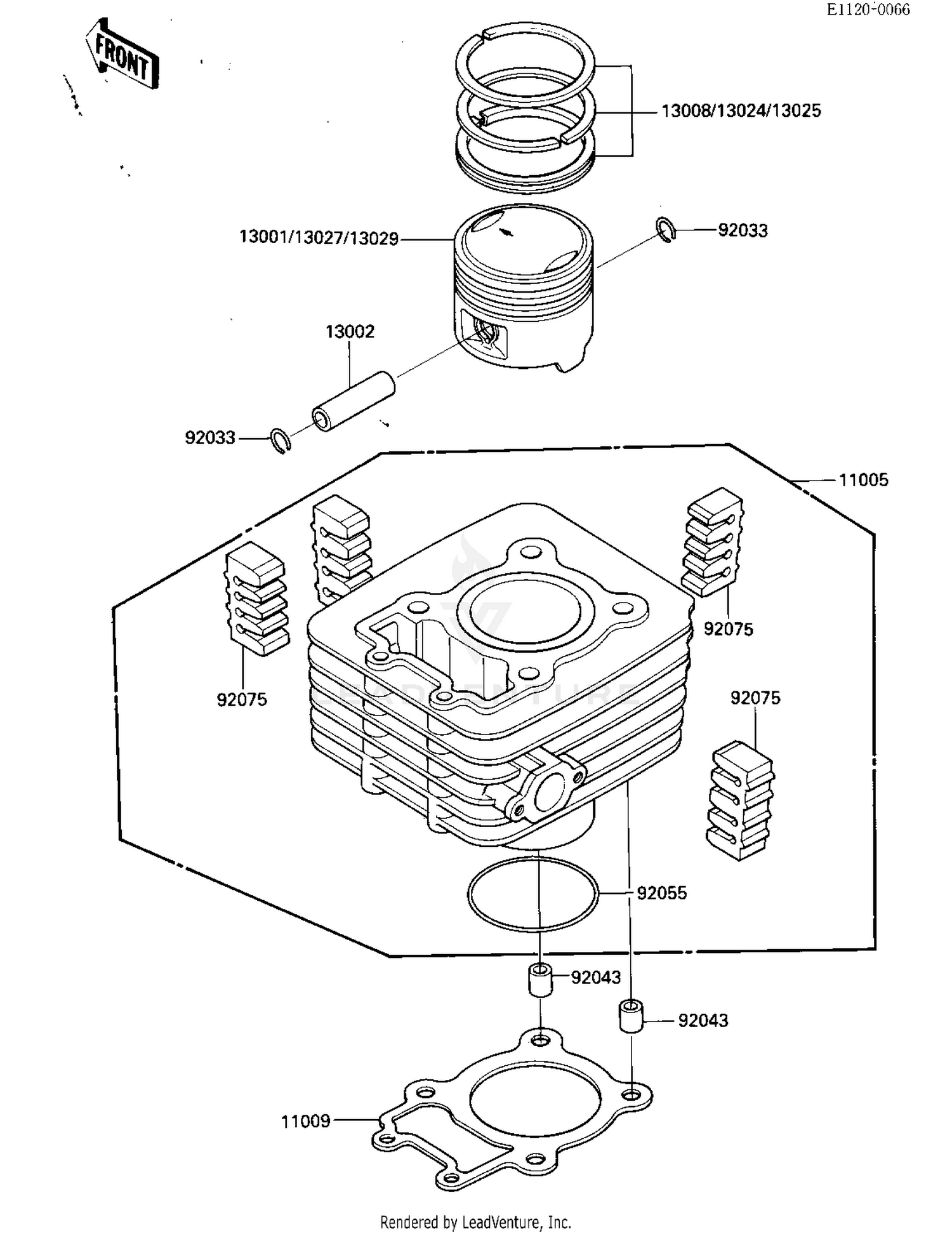
1985 Kawasaki BAYOU 185 2X4 CYLINDER/PISTON

Set this as my ride
CYLINDER/PISTON

WARNING Cancer and Reproductive Harm www.P65Warnings.ca.gov.

  • # Part Retail Our Price
    Stock Status Suggested Quantity
  • 11005
    11005-1396 cylinder-engine Retail: $359.84 Price: See price in cart
    Expected to Ship in 4-9 Days
  • 11009
    11009-1450 gasket,cylinder base
    This part is currently unavailable.
  • 13001
    13001-1182 piston-engine,std
    This part is currently unavailable.
  • 13002
    Expected to Ship in 4-9 Days
  • 13008
    13008-1060 ring-set-piston,std
    This part is currently unavailable.
  • 13024
    13024-1060 ring-set piston ll,o/
    This part is currently unavailable.
  • 13025
    13025-1060 ring-set piston l,o/s
    This part is currently unavailable.
  • 13027
    13027-1126 piston-engine ll,o/s
    This part is currently unavailable.
  • 13029
    13029-1125 piston-engine l,o/s 0
    This part is currently unavailable.
  • 92033
    Expected to Ship in 4-9 Days
  • 92043
    Expected to Ship in 4-9 Days
  • 92055
    Expected to Ship in 4-9 Days
  • 92075
    92075-1657 damper Retail: $13.84 Price: $12.73
    Expected to Ship in 4-9 Days
Added to your cart
CLOSE