Tire Rebates! Get Up To $70 Back Shop Now
CLOSE
Shipping to US Flag United States
Free shipping over $79
Moto Madness Sale | Get Up To 65% Off Parts & Gear Shop Now

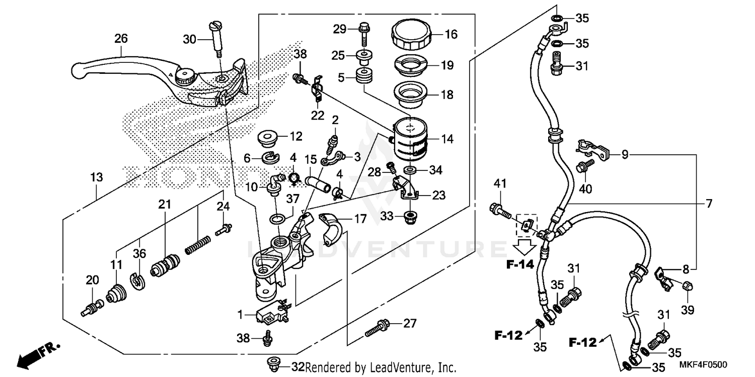
2017 Honda CBR1000RR FRONT BRAKE MASTER CYLINDER (1)

Set this as my ride
FRONT BRAKE MASTER       CYLINDER (1)

WARNING Cancer and Reproductive Harm www.P65Warnings.ca.gov.

Added to your cart
CLOSE