LUCKY YOU! Extra 10% Off Clearance | Use Code POTOGOLD10 Limited Time! Ends 3/21 Shop Now
CLOSE
Shipping to US Flag United States
Free shipping over $79
My Ride: 2010 Yamaha FJR1300 - FJR13
Moto Madness Sale | Get Up To 65% Off Parts & Gear Shop Now

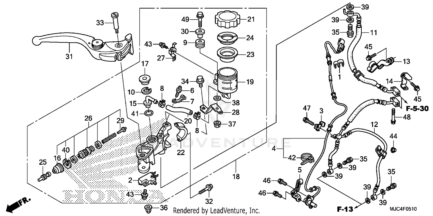
2015 Honda CBR600RR (ABS) FRONT BRAKE MASTER CYLINDER (CBR600RA)

Set this as my ride
FRONT BRAKE MASTER       CYLINDER (CBR600RA)

WARNING Cancer and Reproductive Harm www.P65Warnings.ca.gov.

Added to your cart
CLOSE