FMF Exhausts Up To 10% Off Shop Now
CLOSE
Shipping to US Flag United States
Free shipping over $79
Moto Madness Sale | Get Up To 65% Off Parts & Gear Shop Now

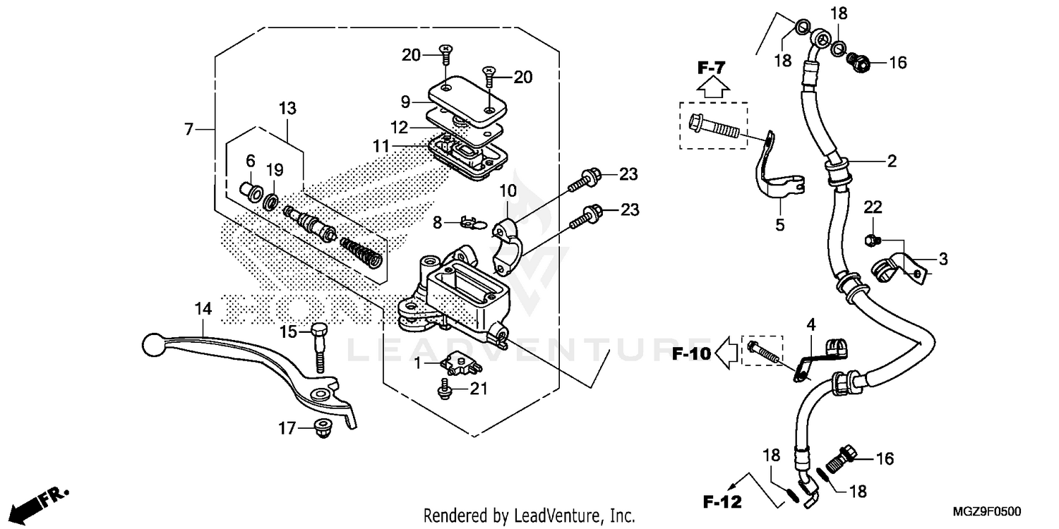
2015 Honda CB500X FRONT BRAKE MASTER CYLINDER (STD)

Set this as my ride
FRONT BRAKE MASTER       CYLINDER (STD)

WARNING Cancer and Reproductive Harm www.P65Warnings.ca.gov.

Added to your cart
CLOSE