Get Out and Ride | Dialed Gear. Tuned Parts. Dirt Ready. Shop Now
CLOSE
Shipping to US Flag United States
Free shipping over $79
My Ride: 2024 Honda Ruckus
BOGOS | Buy One Get One Deals Shop Now

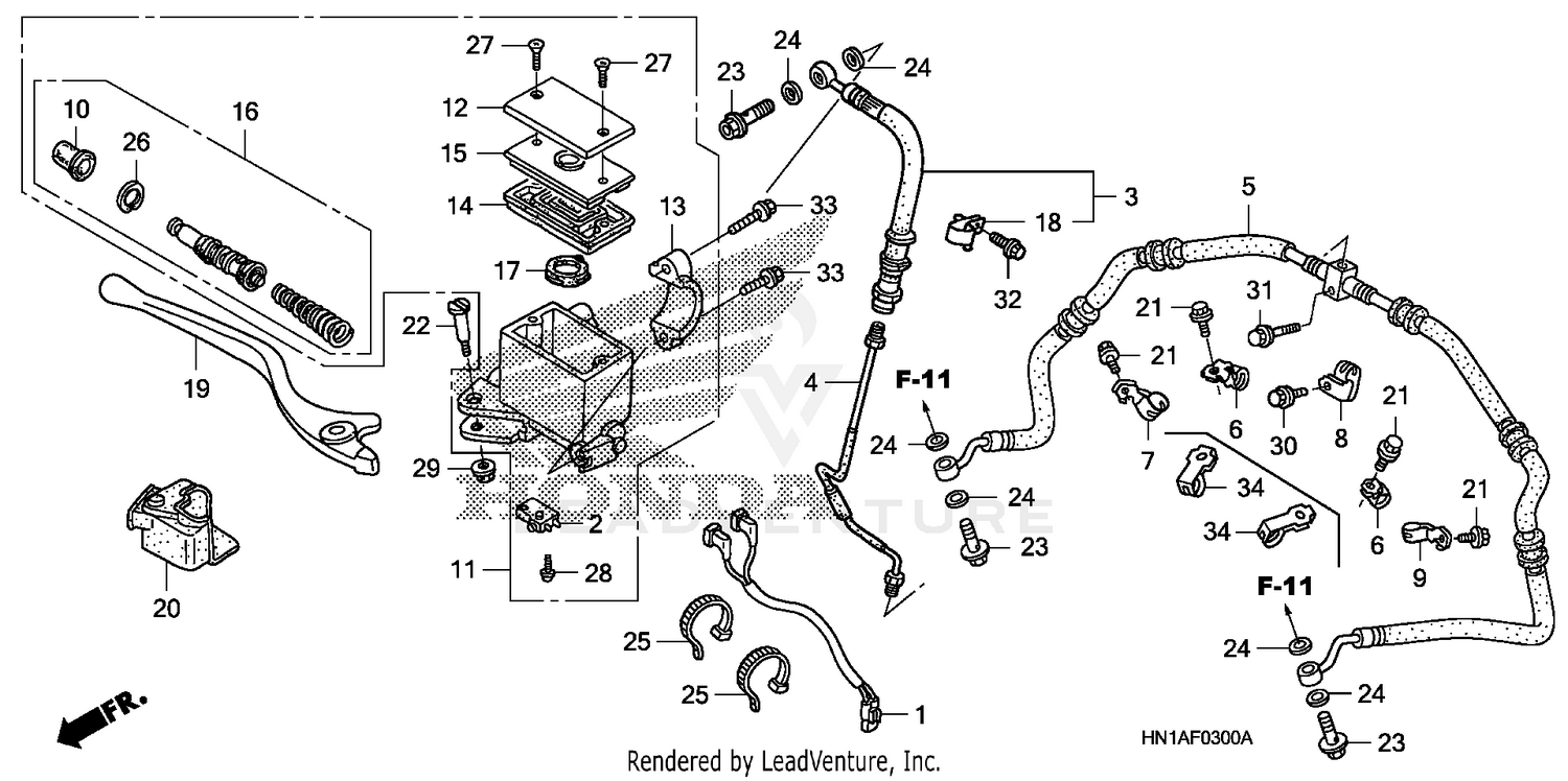
2012 Honda TRX400X FRONT BRAKE MASTER CYLINDER

Set this as my ride
FRONT BRAKE MASTER CYLINDER

WARNING Cancer and Reproductive Harm www.P65Warnings.ca.gov.

Added to your cart
CLOSE