Kickstart your Riding Season with Bike Prep and Riding Gear Shop Now
CLOSE
Shipping to US Flag United States
Free shipping over $79
Moto Madness Sale | Get Up To 65% Off Parts & Gear Shop Now

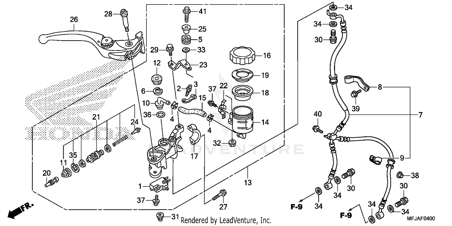
2012 Honda CBR600RR FRONT BRAKE MASTER CYLINDER (CBR600RR)

Set this as my ride
FRONT BRAKE MASTER CYLINDER (CBR600RR)

WARNING Cancer and Reproductive Harm www.P65Warnings.ca.gov.

Added to your cart
CLOSE