BOGOS | Buy One Get One Deals Shop Now
CLOSE
Shipping to US Flag United States
Free shipping over $79
Fast Cash Week | Earn $25 Fast Cash When You Spend $199 Learn More

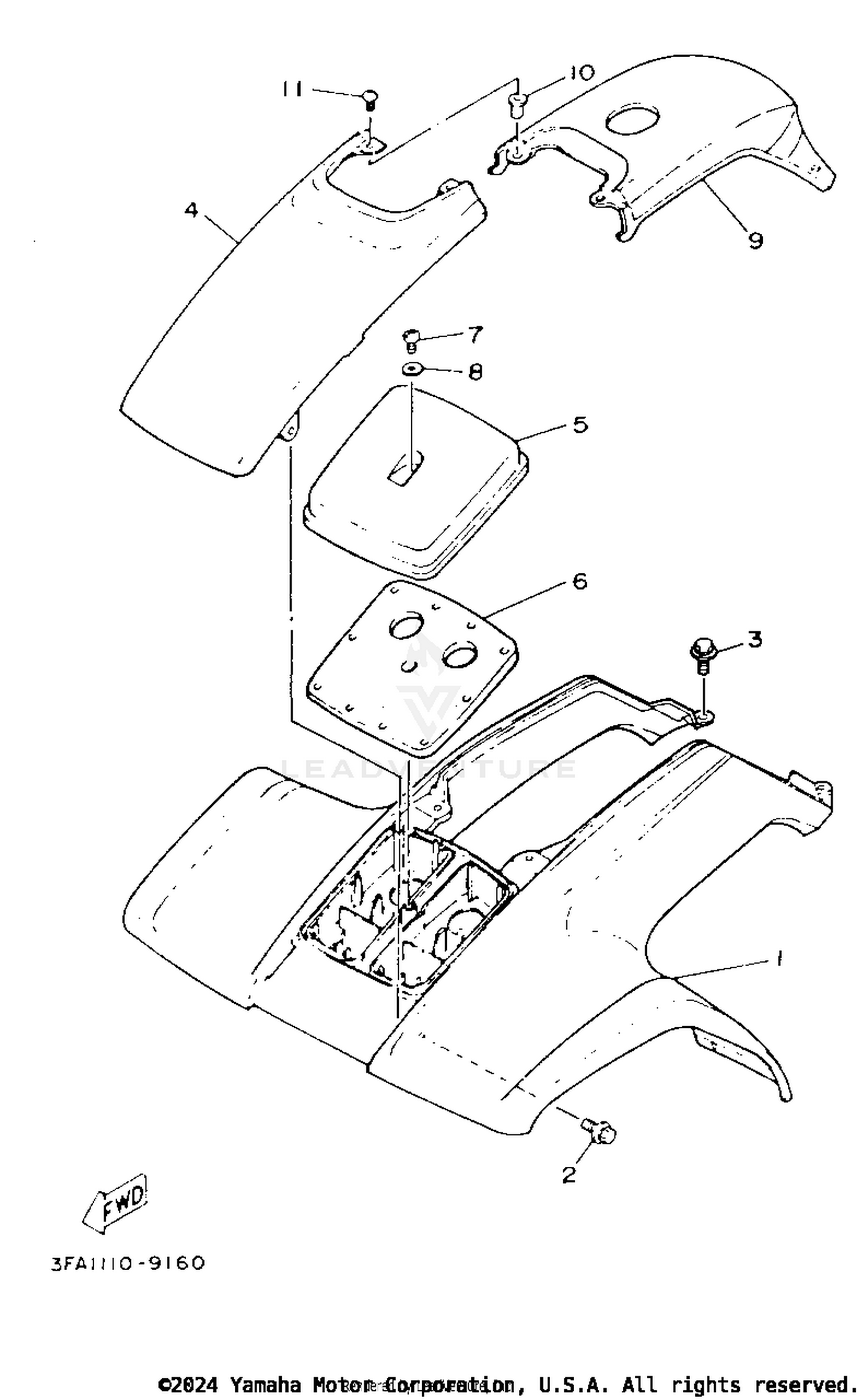
1994 YAMAHA YFA125 BREEZE FRONT FENDER

Set this as my ride
FRONT FENDER

WARNING Cancer and Reproductive Harm www.P65Warnings.ca.gov.

  • # Part Retail Our Price
    Stock Status Suggested Quantity
  • 1
    3FA-21511-10-00 fender, front SOLID FINE SILVER
    This part is currently unavailable.
  • 2
    90119-06056-00 bolt, with washer
    This part is currently unavailable.
  • 3
    90119-06063-00 bolt, with washer Retail: $10.49 Price: $9.02
    Expected to Ship in 5-8 Days
  • 4
    3FA-23391-40-00 panel, front GREENISH BLUE SOLID 1 Retail: $84.99 Price: $68.84
    Expected to Ship in 5-8 Days
  • 5
    3FA-14422-00-00 cap, cleaner case 2
    This part is currently unavailable.
  • 6
    3FA-14461-00-00 element, air cleaner 2 Retail: $16.49 Price: $14.18
    Expected to Ship in 5-8 Days
  • 7
    98511-05020-00 screw, pan head 4cu
    This part is currently unavailable.
  • 8
    92901-05600-00 washer, plate
    This part is currently unavailable.
  • 9
    3FA-2171A-40-00 cover, top GREENISH BLUE SOLID 1 Retail: $48.99 Price: $42.13
    Expected to Ship in 5-8 Days
  • 10
    90179-05525-00 nut Price: $10.91
    Expected to Ship in 5-8 Days
  • 11
    90154-05052-00 screw, binding
    This part is currently unavailable.
Added to your cart
CLOSE