Kickstart your Riding Season with Bike Prep and Riding Gear Shop Now
CLOSE
Shipping to US Flag United States
Free shipping over $79
Moto Madness Sale | Get Up To 65% Off Parts & Gear Shop Now

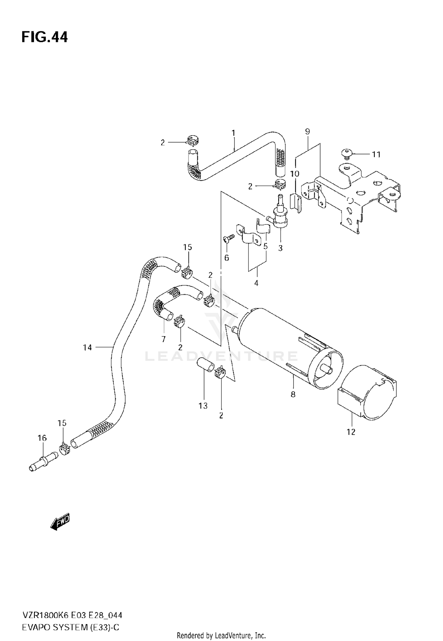
2007 Suzuki BOULEVARD M109R - VZR1800 EVAPO SYSTEM (E33)

Set this as my ride
EVAPO SYSTEM (E33)

WARNING Cancer and Reproductive Harm www.P65Warnings.ca.gov.

All 2007 Suzuki BOULEVARD M109R - VZR1800 Part Groups
Added to your cart
CLOSE